Reklama
Porsche

Porsche si patentovalo zvláštní vynález: Výškově nastavitelnou střechu pro autonomní auta

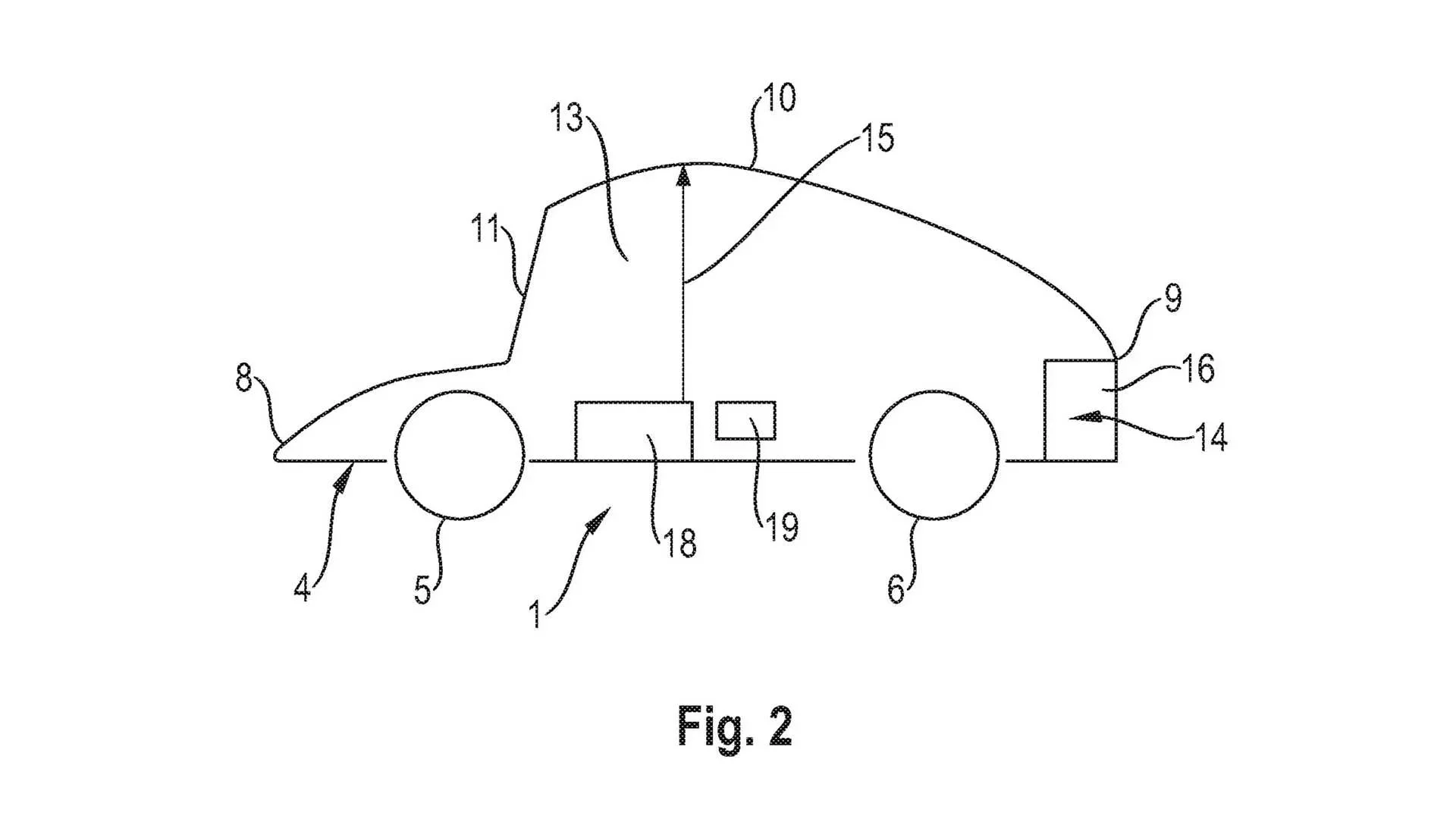
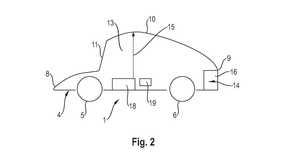
Výškově nastavitelná střecha má zlepšit prostornost a komfort interiéru.
Zdroj: Porsche

Od představení Porsche Taycan uběhlo jen několik měsíců a stuttgartská automobilka ukazuje světu, že se připravuje na mobilitu budoucnosti. Zatímco většina inženýrů pokračuje v dalším vývoji prvního elektromobilu a pracuje na slibovaných hybridních sportovních modelech, ti další zkoumají možnosti autonomních aut.

Porsche si údajně zaregistrovalo patent automobilu s výškově nastavitelnou střechou, která má zlepšit prostornost a komfort interiéru v plně autonomním režimu jízdy. Ačkoli nemáme představu o tom, jak nastavitelná střecha konstrukčně funguje, tento nápad je přinejmenším zajímavý a možná až zvláštní.

Nicméně, stejně jako většina patentů se může, nebo nemusí dostat do sériové výroby. Porsche si nedávno patentovalo také speciální relaxační sedadla, která chce použít v autonomních autech. Spojení těchto dvou technologií ukazuje, že se může jednat o autonomii 4. úrovně, se kterou se v automobilech ještě dlouho nesetkáme.


Diskuze

Žádné příspěvky, buďte první!


Test Kie Stinger GT 3.3 T-GDI, korejského bavoráku v novém balení

Když neznalým lidem řeknete, že se těšíte na testovací týden s Kiou, koukají na vás jako na blázna. ...
14.06.2021
|
0

Test Audi A3 35 TDI S Tronic, malé limuzíny s úsporným motorem

Elegantní kompaktní sedan Audi A3 je vstupenkou do světa limuzín s čtyřmi kruhy ve znaku. Zjistili j...
05.05.2021
|
0
Reklama

Největší česká motoristická slavnost se odkládá. Legendy 2021 se uskuteční až v srpnu

Bezpečnost návštěvníků automobilové slavnosti LEGENDY je u organizátorů na prvním místě. K dispozici...
08.02.2021
|
0

Obchodování s auty za socialismu: Podnikání za minulého režimu nebylo snadné

Podívejte se na záznam z televizní relace, který popisuje strasti podnikání s auty v době socialismu...
17.11.2020
|
0
Reklama
Autoweb